PDF Manuals



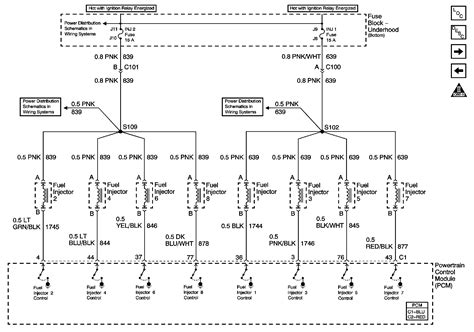
Ls1 Injector Wiring Diagram Color

Ls1 Injector Wiring Diagram Color

Ls1 Injector Wiring Diagram Color (eBook Download) | Presently you are looking regarding an Ls1 Injector Wiring Diagram Color example that we provide here in some form of document formats like as PDF, Doc, Strength Point, as well as images that will make it simpler for you to create an Ls1 Injector Wiring Diagram Color yourself. For a clearer look, you can open several examples below. All the examples about Ls1 Injector Wiring Diagram Color with this web site, we get from many sources so you may create a better file of your own. If the search you obtain here does not match up what you are searching for, please make use of the lookup feature that we have got provided here. You are free to download anything that we provide here, it will not cost you typically the slightest.

DOWNLOAD