PDF Manuals



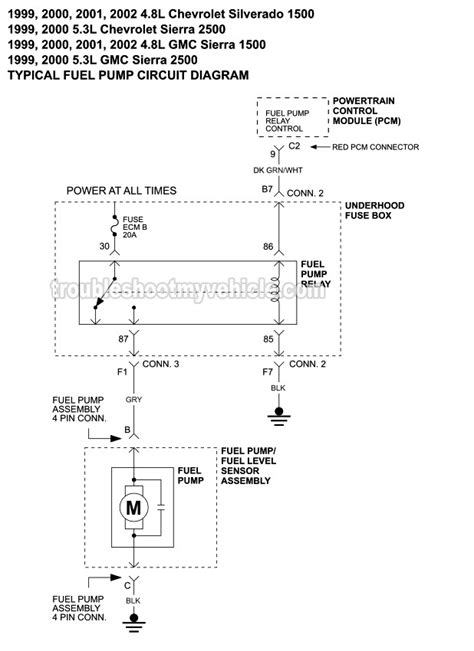
2001 Chevy Silverado Fuel System Wiring Diagram

2001 Chevy Silverado Fuel System Wiring Diagram

2001 chevy silverado fuel system diagram

SOURCE: NEED DIAGRAM OF 2003 CHEVY SILVERADO TRUCK EXT fuel pump is on the engine or either in the gastank follow the fuel line chevys are the easiest auto to work on a new i think yours is in your tank remove both straps and remove hose to filler neck. the fuel **** is in the center of th tank removed by a lock washer system holding the pump in also be careful that you follow the fuel lines ...

2002 Chevy Silverado Fuel Line Diagram

Need fuel line diagram for 2002 chevy silverado. South main auto repair llc 189307 views. Apr 16 2014 650pm. Fuel Line Replacement The Why And How Chevy Silverado Fuel System Diagram Wiring Diagram 2003 Chevy Silverado Fuel Line Diagram Wiring Diagram 2008 Chevy Silverado Fuel Filter Location Bookmark About

2001 Chevy Silverado Fuel Line Diagram — UNTPIKAPPS

2001 Chevy Silverado Fuel Line Diagram. 2001 chevy silverado fuel system diagram fixya source need diagram of 2003 chevy silverado truck ext fuel pump is on the engine or either in the gastank follow the fuel line chevys are the 2001 chevy silverado fuel line diagram imageresizertool 2001 chevy silverado fuel line diagram further ul0a furthermore 25zz4 2003 hummer h2 windshield washer motor ...

Chevrolet Silverado

cooling, heating and air-conditioning systems. fuel and exhaust systems. engine electrical systems. emissions and engine control systems. manual transmission. automatic transmission. transfer case. clutch and driveline. brake. suspension and steering systems. body. chassis electrical systems. wiring diagrams. glossar

2009 Chevy Silverado Fpcm Wiring Diagram

26.11.2018 26.11.2018 4 Comments on 2009 Chevy Silverado Fpcm Wiring Diagram Fuel System Control Module Diagnosis · FSCM Ordering · ITBC Trailer Brake YOU WILL ALSO FIND THE PIN OUT DIAGRAM FOR THE FUEL SYSTEM CONTROL MODULE FOUND ON AND NEWER GM VEHICLES.

2001 Chevrolet Silverado Fuse Diagram — Ricks Free Auto ...

2001 Chevrolet Silverado Fuse Diagram 2001 Chevrolet Silverado Fuse Diagram 2001 Chevrolet Silverado Fuse Diagram Underhood Fuse Box. STUD 1 Fuse l 40A Trailer Wiring / Automatio Level Control Compressor ABS Fuse 52 6OA Brake Pressure Modulator Valve (PumP) IGN A Fuse #3 40A Starter Relay, Ignition Switch IGN 1. TURN. SEO IGN Fuses

Chevrolet Silverado Wiring Diagrams 1998 to 2016

This video demonstrates the Chevrolet Silverado Complete Wiring Diagrams and details of the wiring harness. Diagrams for the following systems are included :...

Free Chevrolet Vehicles Diagrams, Schematics, Service ...

Chevrolet Vehicles Diagrams, Schematics and Service Manuals - download for free! Including: 1923 chevrolet car wiring, 1923 chevrolet general wiring, 1923 chevrolet superior model, 1923 chevrolet wiring, 1925 chevrolet superior model series k, 1927 chevrolet capitol and national, 1927 chevrolet capitol and national models, 1928 chevrolet general wiring, 1928 chevrolet wiring, 1928 chevrolet ...

34 2001 Chevy Silverado Fuel Line Diagram

2001 chevy silverado fuel line diagram. I have a 2001 chevy silverado 1500 4wd that has a rusted out hi pressue fuel line on driverside frame rail. The fuel filter is often the forgotten filter. 2001 chevy silveradolow fuel light on wfull tank my 2001 silverado with 113000 mi has the same problem.

2001 Chevy Silverado Fuel System Wiring Diagram (eBook Download) | Currently you are looking with regard to an 2001 Chevy Silverado Fuel System Wiring Diagram example of which we provide here within some kind of document formats many of these as PDF, Doc, Strength Point, and in addition images of which will make it easier for you to create an 2001 Chevy Silverado Fuel System Wiring Diagram yourself. For a clearer look, you can open a few examples below. All the examples about 2001 Chevy Silverado Fuel System Wiring Diagram on this site, we get from a number of sources so you can create a better record of your own. When the search you get here does not complement what you are searching for, please use the lookup feature that we possess provided here. You are free to download anything at all that we provide right here, expense cost you the slightest.

DOWNLOAD