PDF Manuals



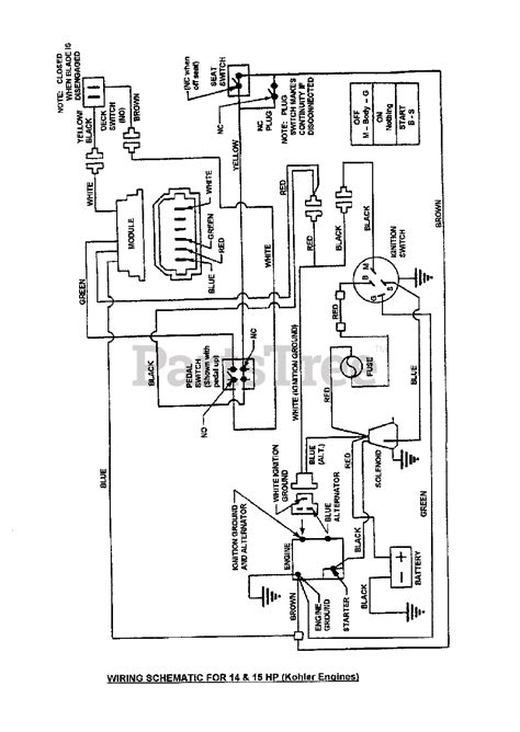
10 Hp Snapper Engine Diagram Wiring Schematic

10 Hp Snapper Engine Diagram Wiring Schematic

10 Hp Snapper Engine Diagram Wiring Schematic (eBook Download) | Currently you are looking with regard to an 10 Hp Snapper Engine Diagram Wiring Schematic example that we provide here inside some kind of document formats like as PDF, Doc, Strength Point, and also images that will make it simpler for you to create an 10 Hp Snapper Engine Diagram Wiring Schematic yourself. For a more clear look, you are able to open a few examples below. All of the examples about 10 Hp Snapper Engine Diagram Wiring Schematic on this website, we get from several sources so you may create a better file of your own. When the search you acquire here does not match up what you are searching for, please utilize the lookup feature that we have provided here. You are free to download something that we provide in this article, it will not cost you the particular slightest.

DOWNLOAD